Датчики давления ОВЕН ПД100И моделей 811/871/881 представляют собой преобразователи давления с открытым измерительным кремниевым кристаллом сенсора и кабельным вводом стандарта EN175301-803 (DIN43650 А).
Данные модели измеряют низкие давления неагрессивных газов, в том числе метана.
Преобразователи данной модели предназначены для создания систем автоматического регулирования и управления в котельной автоматике, системах вентиляции, на тепловых пунктах и т.п.
Основные характеристики преобразователей на низкие давления:
- измерение избыточного/вакуумметрического/избыточно-вакуумметрического давления неагрессивных газов (воздух, природный газ, печной газ).
- преобразование давления в унифицированный сигнал постоянного тока 4...20 мА.
- верхний предел измеряемого давления (ВПИ) – от 0,2 кПа до 100,0 кПа.
- перегрузочная способность – не менее 400 % ВПИ.
- основная приведенная погрешность – 1,5; 1,0; 0,5; 0,25 % ВПИ.
- степень защиты корпуса и электроразъема преобразователя – IP65.
- помехоустойчивость удовлетворяют требованиям к оборудованию класса А по ГОСТ 30804.6.2-2013.

Технические характеристики
| Наименование |
Значение |
| Выходной сигнал постоянного тока | 4...20 мА, 2-проводная схема |
| Основная приведенная погрешность | 0,25; 0,5; 1,0; 1,5 % ВПИ |
| Диапазон рабочих температур измеряемой среды | –20…+85 °С |
| Напряжение питания | 12…36 В постоянного тока |
| Сопротивление нагрузки | 0…1,0 кОм (в зависимости от напряжения питания) |
| Потребляемая мощность | не более 0,8 Вт |
| Устойчивость к механическим | группа исполнения V3 |
| воздействиям | по ГОСТ Р 52931 |
| Степень защиты корпуса | IP65 |
| Устойчивость к климатическим воздействиям | УХЛ3.1 |
| Диапазон рабочих температур окружающего воздуха | –20…+80 °С |
| Атмосферное давление рабочее | 66...106,7 кПа |
| Среднее время наработки на отказ | не менее 500 000 ч |
| Средний срок службы | 12 лет |
| Межповерочный интервал | 4 / 5 лет |
| Методика поверки | КУВФ.406230.100 МП |
| Вес без упаковки / в упаковке | 0,2 кг / 0,3 кг |
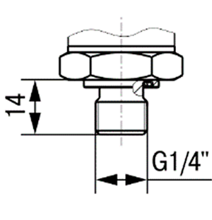
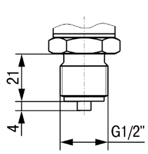
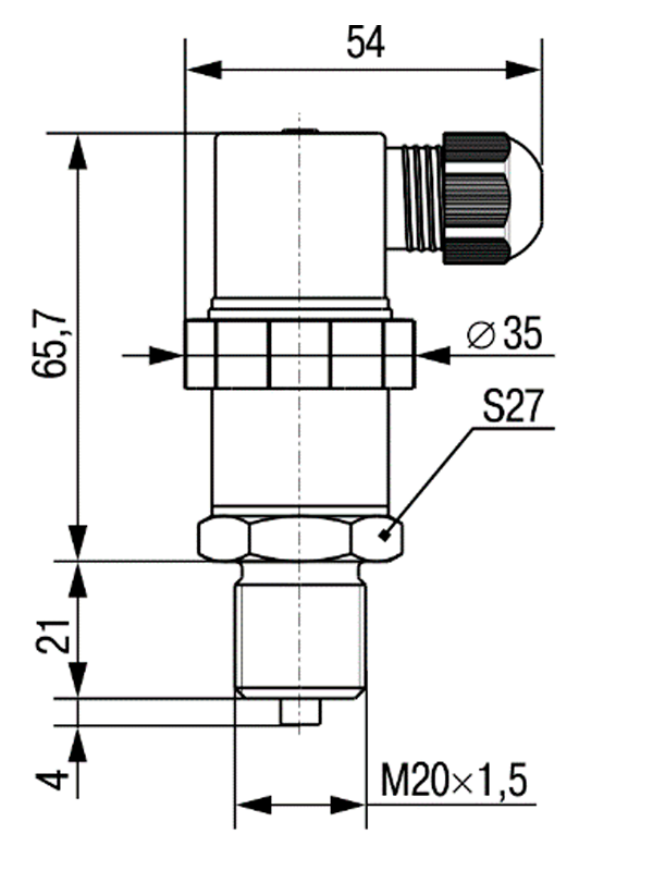
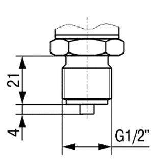
| Штуцер для подключения давления | M20×1,5 манометрической формы, G1/2 манометрической формы, G1/4 |
| Тип электрического соединителя | EN175301-803 форма А |
| Габаритный размер (по высоте) | не более 95 мм |
| Перегрузочная способность |
не менее 400% от ВПИ |
| Предельное давление перегрузки |
не менее 700% от ВПИ |
Схемы подключения и габаритные размеры
![]()
Схема подключения преобразователя давления ПД100И к внешним устройствам
![]()
Штуцер с резьбой М20×1,5 ![]()
Штуцер с резьбой G1/2 ![]()
Штуцер с резьбой G1/4